Project Profile
Commercial Dispute: Best Efforts Marketing
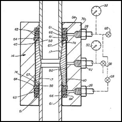
For Patented Pressure Testing System
For Patented Pressure Testing System
![]() |
![]() |
Commercial dispute: use of "best efforts" to develop and market a patented drill string pressure testing system. The situation involved sale of a company separately from the invention, and retention of key personnel for sales and technical support.
Copyright © 2026 Arthur Zatarain, all rights reserved. Some images are modified for confidentiality
or illustration clarity. This site should not be used as a technical or legal reference.



